執行元件 — CQ2系列薄型氣缸
訂貨型號

感應開關的選擇
| 感應開關 | 16 | 20 | 25 | 32 | 40 | 50 | 63 | 80 | 100 | 125 | 160 |
| D-A73L D-A93 | |||||||||||
技術參數
| 內徑(mm) | 12 | 16 | 20 | 25 | 32 | 40 | 50 | 63 | 80 | 100 |
| 動作型式 | 復動型 | |||||||||
| 工作介質 | 空氣(經40um過濾的潔凈空氣) | |||||||||
| 使用壓力 | 0.1~0.9Mpa(1~9kgf/cm2) | |||||||||
| 保證耐壓力 | 1.35Mpa(13.5kgf/cm2) | |||||||||
| 使用溫度 | -5~60℃(未凍結) | |||||||||
| 緩沖型式 | 有緩沖 | |||||||||
| 接管口徑 | M5 | 1/8" | 1/4" | 3/8" | ||||||
| 本體材質 | 鋁合金 | |||||||||
氣缸行程
| 內徑(mm) | 標準行程(mm) | 最大行程(mm) | 容許行程(mm) |
| 12 | 5 10 15 20 25 30 35 40 45 50 | 50 | 60 |
| 16 | 5 10 15 20 25 30 35 40 45 50 | 50 | 60 |
| 20 | 5 10 15 20 25 30 35 40 45 50 55 60 65 70 75 80 | 80 | 90 |
| 25 | 5 10 15 20 25 30 35 40 45 50 55 60 65 70 75 80 | 80 | 90 |
| 32 | 5 10 15 20 25 30 35 40 45 50 55 60 65 70 75 80 85 90 95 100 | 130 | 150 |
| 40 | 5 10 15 20 25 30 35 40 45 50 55 60 65 70 75 80 85 90 95 100 | 130 | 150 |
| 50 | 5 10 15 20 25 30 35 40 45 50 55 60 65 70 75 80 85 90 95 100 | 130 | 150 |
| 63 | 5 10 15 20 25 30 35 40 45 50 55 60 65 70 75 80 85 90 95 100 | 130 | 150 |
| 80 | 5 10 15 20 25 30 35 40 45 50 55 60 65 70 75 80 85 90 95 100 | 130 | 150 |
| 100 | 5 10 15 20 25 30 35 40 45 50 55 60 65 70 75 80 85 90 95 100 | 130 | 150 |

| 內徑(mm) | B | ΦD | E | F | H | C | I | J | K | L | M | ΦN | ΦO | P | Q | W | Z |
| 12 | 17+st | 6 | 25 | 5 | M3×0.5 | 6 | 32 | - | 5 | 3.5 | 15.5 | 3.5 | 6.5depth3.5 | M5x0.8 | 7.5 | - | - |
| 16 | 18.5+st | 8 | 29 | 5.5 | M4×0.7 | 8 | 38 | - | 6 | 3.5 | 20 | 3.5 | 6.5depth3.5 | M5x0.8 | 8 | - | 10 |
| 20 | 19.5+st | 10 | 36 | 5.5 | M5×0.8 | 7 | 47 | - | 8 | 4.5 | 25.5 | 5.5 | 9depth7 | M5x0.8 | 9 | - | 10 |
| 25 | 22.5+st | 12 | 40 | 5.5 | M6×1.0 | 12 | 52 | - | 10 | 5 | 28 | 5.5 | 9depth7 | M5x0.8 | 11 | - | 10 |
| 32 | 23+st | 16 | 45 | 7.5 | M8×1.25 | 13 | 60 | 4.5 | 14 | 7 | 34 | 5.5 | 9depth7 | 1/8 | 10.5 | 49.5 | 18 |
| 40 | 29.5+st | 16 | 52 | 8 | M8×1.25 | 13 | 69 | 5 | 14 | 7 | 40 | 5.5 | 9depth7 | 1/8 | 11 | 57 | 18 |
| 50 | 30.5+st | 20 | 64 | 10.5 | M 10×1.5 | 15 | 86 | 7 | 17 | 8 | 50 | 6.6 | 11depth3 | 1/4 | 10.5 | 74 | 22 |
| 63 | 36+st | 20 | 77 | 10.5 | M10×1.5 | 15 | 103 | 7 | 17 | 8 | 60 | 9 | 14depth10.5 | 1/4 | 15 | 84 | 22 |
| 80 | 43.5+st | 25 | 98 | 12.5 | M 16×2.0 | 21 | 132 | 6 | 22 | 10 | 77 | 11 | 17depth13.5 | 3/8 | 16 | 104 | 26 |
| 100 | 53+st | 30 | 117 | 13 | M20×2.5 | 27 | 156 | 6.5 | 27 | 12 | 94 | 11 | 17depth13.5 | 3/8 | 23 | 123.5 | 26 |

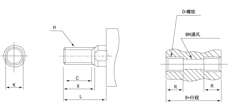
| 內徑(mm) | C | X | D | H | L | K | 0 | R |
| 12 | 9 | 10.5 | 6 | M5×0.8 | 14 | 5 | M4×0.7 | 7 |
| 16 | 10 | 12 | 8 | M6×1.0 | 15.5 | 6 | M7×0.7 | 7 |
| 20 | 13 | 14 | 10 | M8×1.25 | 18.5 | 8 | M6×1.0 | 10 |
| 25 | 15 | 17.5 | 12 | M10×1.25 | 22.5 | 10 | M6×1.0 | 10 |
| 32 | 20.5 | 23.5 | 16 | M14×1.5 | 28.5 | 14 | M6×1.0 | 10 |
| 40 | 20.5 | 23.5 | 16 | M14×1.5 | 28.5 | 14 | M6×1.0 | 10 |
| 50 | 26 | 28.5 | 20 | M18×1.5 | 33.8 | 17 | M8×1.25 | 14 |
| 63 | 26 | 28.5 | 20 | M18×1.5 | 33.5 | 17 | M10×1.5 | 18 |
| 80 | 32.5 | 35.5 | 25 | M22×1.5 | 43.5 | 22 | M12×1.75 | 22 |
| 100 | 32.5 | 35.5 | 30 | M26×1.5 | 43.5 | 27 | M12×1.75 | 22 |